Contact us Heritage collections Image license terms
HOME ACL Associates Technology Literature Applications Society Software revisited
Further reading □ OverviewPaper 1Paper 2Paper 3Paper 4Paper 5Paper 6Paper 7Paper 8Paper 9Paper 10Paper 11Paper 12Paper 13Paper 14Paper 15Paper 16Paper 17Paper 18Paper 19Paper 20Paper 21Paper 22Paper 23Paper 24Paper 25 revPaper 25Paper 26Paper 27Paper 28Paper 29Paper 30Paper 31Paper 32Paper 33Paper 34Paper 35Paper E
ACD C&A INF CCD CISD Archives Contact us Heritage archives Image license terms

Search

   
ACLLiteratureProgress ReportsTechnical Papers
ACLLiteratureProgress ReportsTechnical Papers
ACL ACD C&A INF CCD CISD Archives
Further reading

OverviewPaper 1Paper 2Paper 3Paper 4Paper 5Paper 6Paper 7Paper 8Paper 9Paper 10Paper 11Paper 12Paper 13Paper 14Paper 15Paper 16Paper 17Paper 18Paper 19Paper 20Paper 21Paper 22Paper 23Paper 24Paper 25 revPaper 25Paper 26Paper 27Paper 28Paper 29Paper 30Paper 31Paper 32Paper 33Paper 34Paper 35Paper E

Paper No 17: Image Size Measurements

F R A Hopgood

20 November 1975

1. INTRODUCTION

The complete FR80 plotting area has coordinates 0 to 16383 in both directions. Each camera is capable of photographing only part of the plotting area - the aperture plate ensures that plotting outside its bounds is not recorded. However, if output is produced over the complete area allowed by the plate, the images on consecutive frames overlap. Consequently, it is usual to restrict plotting to at least an area such that two consecutive frames abut.

For 16mm and 35mm cine film, the frame area defined in the British Standard is smaller than the abut image with a gap between consecutive frames. The cine image is defined so that on most projectors the outer edges of the image will not be seen. In general, this is preferable to having a blank border around the screen image. However, it may be essential for certain information to be seen. For this reason, a second British Standard image (called cine(projector)) is defined which should be completely visible on all projectors.

For the cine cameras it is, therefore, necessary to measure four areas:

  1. Aperture: this should be such that a box drawn round the aperture area does not have any of its edges obscured by the aperture plate.
  2. abutment: a standard III program (MON;SYS) allows the engineer to set up the abutment image. Unfortunately, measurements taken from this are not symmetric about the cine image. As abutment is still maintained when all the images are moved the same amount relative to each other, it is possible to centre the abutment image on the cine image by adding some displacement. Abutment is calculated so that boundary lines superimpose.
  3. Cine: this can be obtained using the British Standard definition.
  4. Cine (projector): this can be obtained using the British Standard definition.

The main image measurements for the hard copy camera are aperture and abutment and these can be done in the same way as for the cine cameras. A cine image with the same aspect ratio as the cine (projector) image is also defined.

It is not possible to abut using the microfiche camera. Consequently, the only measurements necessary are the aperture size and an image size which is defined to avoid overlap.

2. COORDINATES

All measurements are made in comic mode on all cameras (x is measured along the film). On the 16mm and 35mm cameras, the camera is mounted off-centre by an amount DX and DY from the centre of the cine image. For the hardcopy camera, the cine image can be defined so that it is not off-centre.

Coordinate system used in defining image sizes. (DX,DY) defines offset of FR80 plotting area from centre of cine image and centre of film

Coordinate system used in defining image sizes. (DX,DY) defines offset of FR80 plotting area from centre of cine image and centre of film
View in detail ⇗
© UKRI Science and Technology Facilities Council

Image sizes for users are given in both cine and comic mode. In cine mode, X is measured across the film.

Comic and  Cine coordinate systems

Comic and Cine coordinate systems
View in detail ⇗
© UKRI Science and Technology Facilities Council

Cine mode is standard for all cameras other than the microfiche camera.

3. IMAGE SIZES

Image XWIDTH YWIDTH XMIN YMIN XMAX YMAX
8020 Combined 35mm
Aperture 13373 16383+ 1490 0 14863 16383
Abutment 12510 16383+ 1936 0 14446 16383
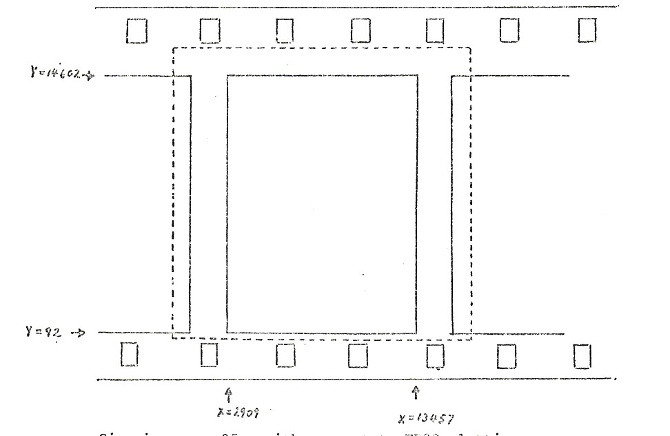
Cine 10548 14510 2909 92 13457 14602
Cine (projector) 10064 13825 3151 466 13215 14291

Cine image is based on British Standard 0.629 (+.004, -.000) by 0.866 (+.004, -.000) inches

Atlas cine (image) is based on 0.631 by 0.868 both ±.002

Atlas cine (projector) is based on 0.602 by 0.827 (max)

(1 raster = 0.0000598")

The image offset is DX = +8, DY = -8

Cine image on 35mm with respect to FR80 plotting area

Cine image on 35mm with respect to FR80 plotting area
View in detail ⇗
© UKRI Science and Technology Facilities Council
Image XWIDTH YWIDTH XMIN YMIN XMAX YMAX
8020 Combined 16mm
Aperture 5910 7010 5220 4720 11130 11730
Abutment 5000 6970 5691 4740 10691 11710
Cine 4906 6768 5696 4832 10602 11600
Cine (projector) 4772 6399 5763 5017 10535 11415

Cine image is based on British Standard 0.292 (+.006, -.000) by 0.402 (+.006, -.000) inches

Atlas cine (image) is based on 0.294 by 0.404 both ±.002

Atlas cine (projector) is based on 0.286 by 0.382 (max)

(1 raster = 0.0000598")

The image offset is DX = +42, DY = -25

Image XWIDTH YWIDTH XMIN YMIN XMAX YMAX
8021 16mm
Aperture 8570 10180 4350 3140 12920 13320
Abutment 7206 10140 4588 3160 11794 13300
Cine 7070 9752 4889 3315 11959 13067
Cine (projector) 6828 9222 5010 3580 11838 12802

The image standard for cine are as above.

The image offset is DX = -233, DY = 0

Cine image on 8021 16mm camera with respect to FR80 plotting area

Cine image on 8021 16mm camera with respect to FR80 plotting area
View in detail ⇗
© UKRI Science and Technology Facilities Council
Image XWIDTH YWIDTH XMIN YMIN XMAX YMAX
8060 Hardcopy
Aperture 12905 16383+ 1930 0 14835 16383
Abutment 12402 16383+ 1990 0 14392 16383
Cine 12266 16383 2058 0 14324 16383

(1 rater unit = 0.000709")

The cine image defined above has the same aspect ratio as the 16mm cine (projector) image.

Image XWIDTH YWIDTH XMIN YMIN XMAX YMAX
8025 105mm Microfiche
Aperture 16383+ 16383+ 0 0 16383 16383
Image 14400 11600 992 2392 15392 13992

4. USER IMAGE SIZES

From the measured image sizes it is necessary to produce a set of figures that are of use to package writers and users. These figures should give the coordinates of the four main images in both cine and comic mode. The only adjustment required is to move the abutment image so that it is symmetric about the cine image.

The measured figures for a camera are:

XMIN YMIN XMAX YMAX
Aperture xmna ymna xmxa ymxa
Abutment xmnb ymnb xmxb ymxb
Cine xmnc ymnc xmxc ymxc
Cine (projector xmnp ymnp xmxp ymxp

The offset needed to centre the abutment image is:

dx = ½ (xmnc + xmxc - xmnb - xmxb)

The coordinates of these images in COMIC mode are:

XMIN YMIN XMAX YMAX
Aperture xmna ymna xmxa ymxa
Abutment xmnb+dx ymnb xmxb+dx ymxb
Cine xmnc ymnc xmxc ymxc
Cine (projector xmnp ymnp xmxp ymxp

The coordinates of these images in CINE mode are:

XMIN YMIN XMAX YMAX
Aperture ymna 16383-xmxa ymxa 16383-xmna
Abutment ymnb 16383-xmxb-dx ymxb 16383-xmnb-dx
Cine ymnc 16383-xmxc ymxc 16383-xmnc
Cine (projector ymnp 16383-xmxp ymxp 16383-xmnp
⇑ Top of page
© Chilton Computing and UKRI Science and Technology Facilities Council webmaster@chilton-computing.org.uk
Our thanks to UKRI Science and Technology Facilities Council for hosting this site